Product Summary
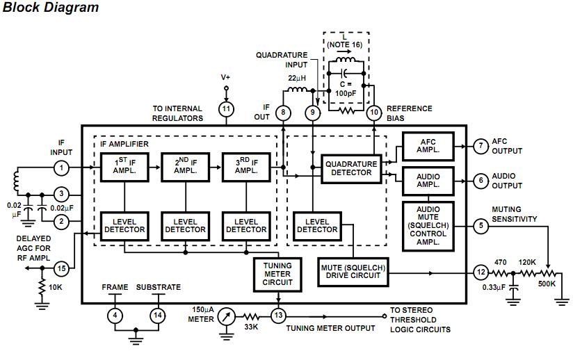
The CA3089M is a monolithic integrated circuit that provides all the functions of a comprehensive FM-IF system. The block diagram shows the CA3089M features, which include a three-stage FM-IF amplifier/limiter configuration with level detectors for each stage, a doubly-balanced quadrature FM detector and an audio amplifier that features the optional use of a muting (squelch) circuit.
Parametrics
CA3089M absolute maximum ratings: (1)Supply Voltage, Between V+ and Frame GND: 16V; Between V+ and Substrate GND: 16V; DC Current (Out of Delayed AGC): 2mA; (2)Operating Temperature Range: -40 to 85℃.
Features
CA3089M features: (1)For FM IF Amplifier Applications in High-Fidelity, Automotive, and Communications Receivers; (2)Includes: IF Amplifier, Quadrature Detector, AF Preamplifier, and Specific Circuits for AGC, AFC, Muting (Squelch), and Tuning Meter; (3)Exceptional Limiting Sensitivity at -3dB Point: 12μV (Typ); (4)Low Distortion: (with Double-Tuned Coil): 0.1% (Typ); (5)Single-Coil Tuning Capability; (6)High Recovered Audio: 400mV (Typ); (7)Provides Specific Signal for Control of Interchannel Muting (Squelch); (8)Provides Specific Signal for Direct Drive of a Tuning Meter; (9)Provides Delayed AGC Voltage for RF Amplifier; (10)Provides a Speci?c Circuit for Flexible AFC; (11)Internal Supply-Voltage Regulators.
Diagrams

| Image | Part No | Mfg | Description | ![]() |
Pricing (USD) |
Quantity | ||||||||||||
|---|---|---|---|---|---|---|---|---|---|---|---|---|---|---|---|---|---|---|
![]() |
![]() CA3089M1 |
![]() Other |
![]() |
![]() Data Sheet |
![]() Negotiable |
|
||||||||||||
| Image | Part No | Mfg | Description | ![]() |
Pricing (USD) |
Quantity | ||||||||||||
![]() |
![]() CA30 |
![]() Other |
![]() |
![]() Data Sheet |
![]() Negotiable |
|
||||||||||||
![]() |
![]() CA300 |
![]() Extech |
![]() Clamp Multimeters & Accessories REORDER 685-CA310 |
![]() Data Sheet |
![]() Negotiable |
|
||||||||||||
![]() |
![]() CA3019 |
![]() Other |
![]() |
![]() Data Sheet |
![]() Negotiable |
|
||||||||||||
![]() |
![]() CA302 |
![]() Altech |
![]() Terminal Block Tools & Accessories End stop 35x7.5mm DINRail |
![]() Data Sheet |
![]()
|
|
||||||||||||
![]() |
![]() CA3020 |
![]() Other |
![]() |
![]() Data Sheet |
![]() Negotiable |
|
||||||||||||
![]() |
![]() CA3020A |
![]() Other |
![]() |
![]() Data Sheet |
![]() Negotiable |
|
||||||||||||
(China (Mainland))










