Product Summary
The ADSP2103KS-40 is a pin- and code-compatible single-chip microprocessor. It is optimized for digital signal processing and other high-speed numeric processing applications. The applications of the ADSP2103KS-40 are digital filtering, fast fourier transforms, image processing, radar, sonar, speech processing, telecommunications.
Parametrics
ADSP2103KS-40 absolute maximum ratings: (1)supply voltage:-0.3 to +7V; (2)input voltage:-0.3 to VDD+0.3V; (3)output voltage swing:-0.3 to VDD+0.3V; (4)operating temperature range:-55 to +125℃; (5)storage temperture range:-65 to 150℃.
Features
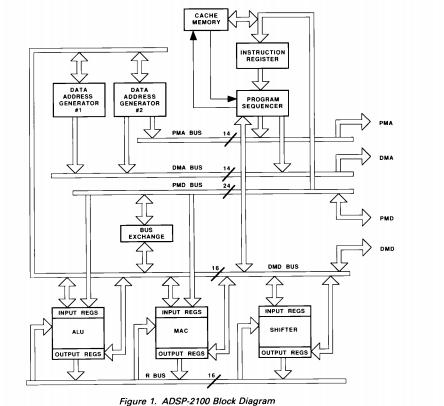
ADSP2103KS-40 features: (1)separate program and data buses, extened off-chip; (2)single-cycle direct access to 16k*16 of data memory; (3)single-cycle direct access to 32k*24 of program memory; (4)dual purpose program memory for both instruction and data storage; (5)three independent computational units; (6)single-cycle instrction execution; (7)multifunction instructions; (8)four external interrupts; (9)80ns cycle time; (10)790mW maximum power dissipation.
Diagrams

![]() |
![]() ADSP-2100 |
![]() Other |
![]() |
![]() Data Sheet |
![]() Negotiable |
|
||||||||||||||
![]() |
![]() ADSP-2101BG-100 |
![]() |
![]() IC DSP CONTROLLER 16BIT 68PGA |
![]() Data Sheet |
![]()
|
|
||||||||||||||
![]() |
![]() ADSP-2101BGZ-100 |
![]() Analog Devices Inc |
![]() IC DSP 16BIT CTRL 25MHZ 68-PGA |
![]() Data Sheet |
![]() Negotiable |
|
||||||||||||||
![]() |
![]() ADSP-2101BP-100 |
![]() |
![]() IC DSP CONTROLLER 16BIT 68PLCC |
![]() Data Sheet |
![]()
|
|
||||||||||||||
![]() |
![]() ADSP-2101BPZ-100 |
![]() |
![]() IC DSP SLG 16BIT 25MHZ 68-PLCC |
![]() Data Sheet |
![]()
|
|
||||||||||||||
![]() |
![]() ADSP-2101BS-100 |
![]() Analog Devices Inc |
![]() IC DSP CONTROLLER 16BIT 80PQFP |
![]() Data Sheet |
![]() Negotiable |
|
||||||||||||||
(China (Mainland))










