Product Summary
The 2DI150Z-100-E is a power transistor module. The applications of it are general purpose inverter, uninterruptible power supply, servo and spindle drive for NC machine tools, robotics, switching power supplies for welding machines.
Parametrics
2DI150Z-100-E absolute maximum ratings: (1)VCBO:1200V; (2)VCEO:1200V; (3)VCEO(SUS):900V; (4)VEBO:10V; (5)IC:150A; (6)ICP:300A; (7)-IC:150A; (8)IB:8A; (9)IBP:16A; (10)PC:1000W; (11)Tj:+150℃; (12)Tstg:-40℃ to +125℃; (13)Visol:2500V.
Features
2DI150Z-100-E features: (1)high Arm short circuit capability; (2)high DC current gain; (3)including free wheeling diode; (4)insulated type.
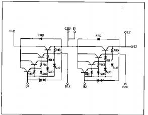
Diagrams

![]() |
![]() 2DI150M-120 |
![]() Other |
![]() |
![]() Data Sheet |
![]() Negotiable |
|
||||
(China (Mainland))








