Product Summary
The 6MBP50RA120-55 is a R series IGBT-IPM.
Parametrics
6MBP50RA120-55 R series IGBT-IPM,1200V, 50A.
Features
6MBP50RA120-55 R series IGBT-IPM,1200V, 50A.
Diagrams

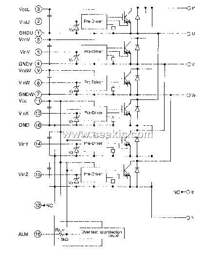
6MBP50RA120-55 R series IGBT-IPM,1200V, 50A.
Place orders confidently and securely via it
The 6MBP50RA120-55 is a R series IGBT-IPM.
6MBP50RA120-55 R series IGBT-IPM,1200V, 50A.
6MBP50RA120-55 R series IGBT-IPM,1200V, 50A.
